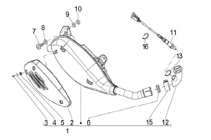
Knalpot
Vespa GTS 125ie Super Sport (2011, ZAPM45300)
Urutkan