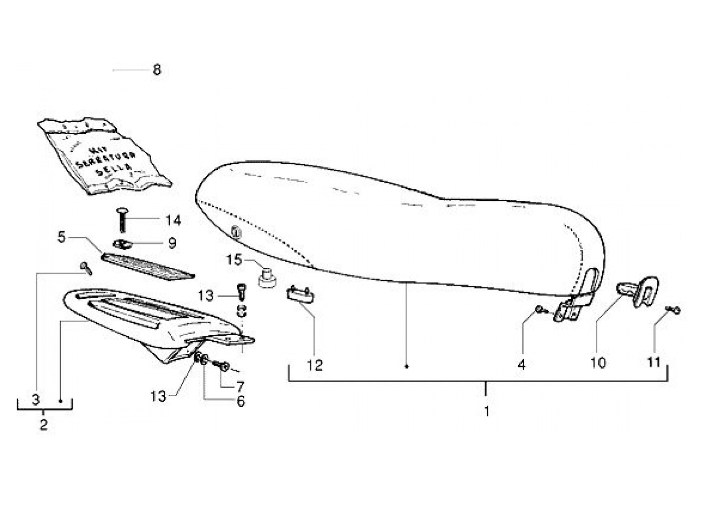
Kursi
Vespa ET4 50 (2000, ZAPC26000)
Urutkan