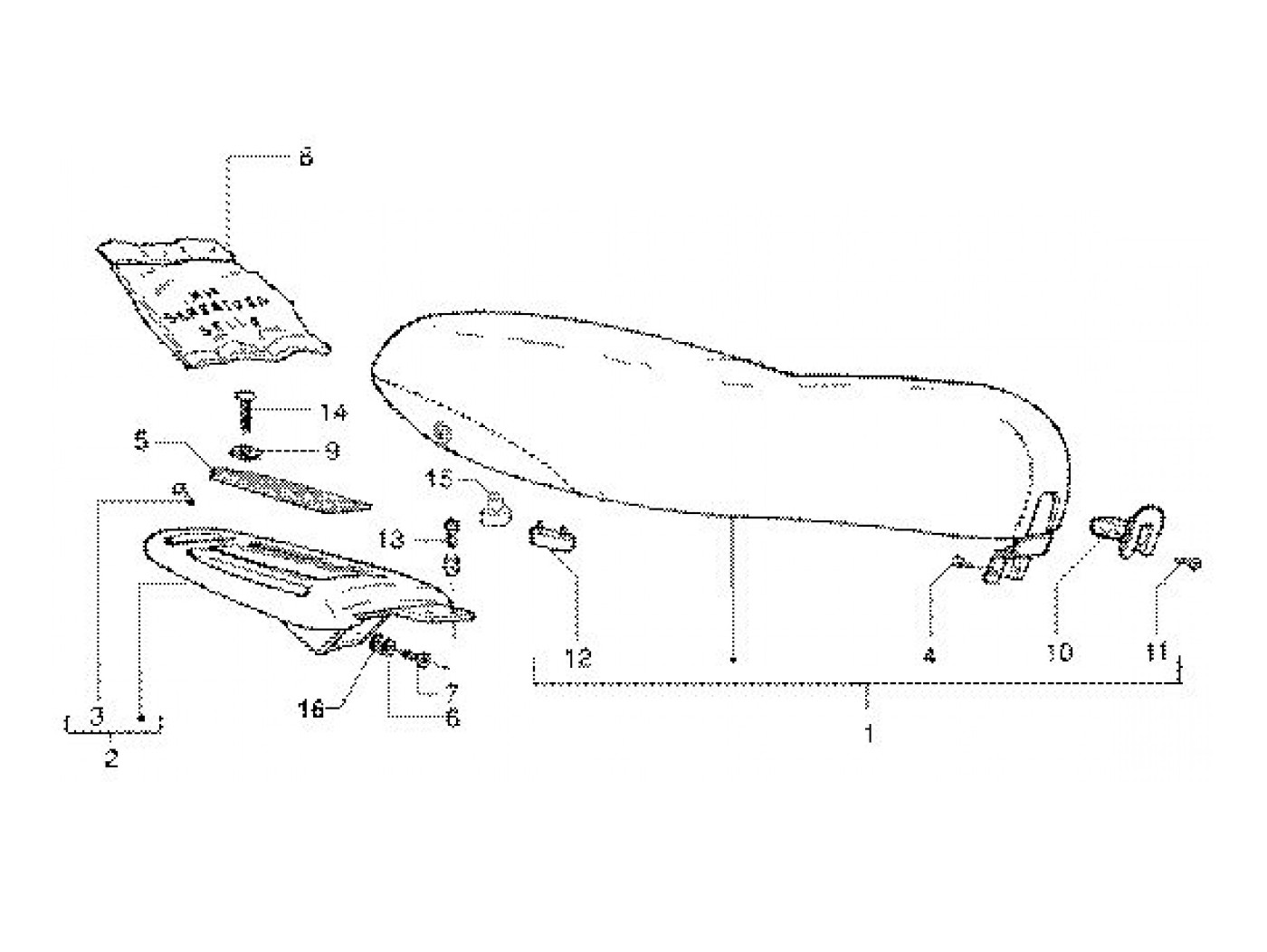
Kursi
Vespa ET4 50 (2003, ZAPC26100)
Urutkan