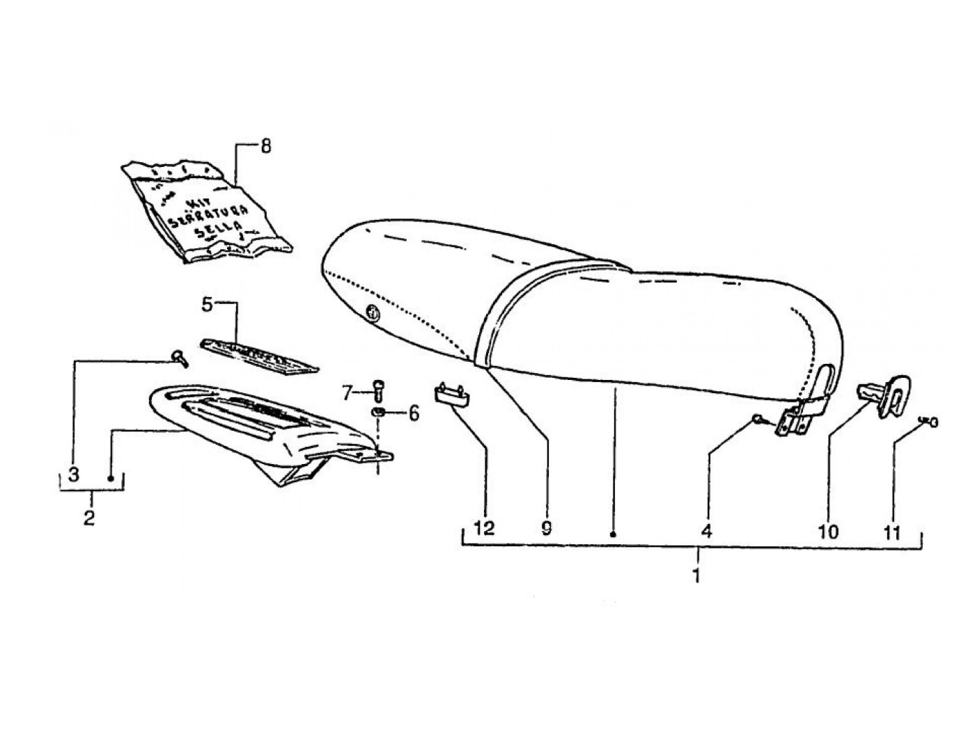
Kursi
Vespa ET4 125 (1998, ZAPM04000)
Urutkan