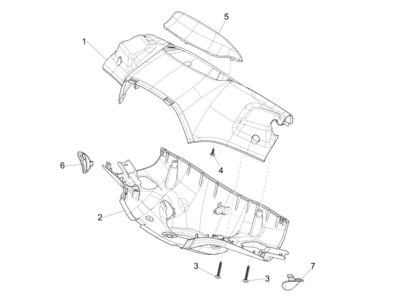
Lenkerpenutup
Vespa Sprint 50 IGET Sport (4-tak, 2019-2020, ZAPCA0203)
Urutkan