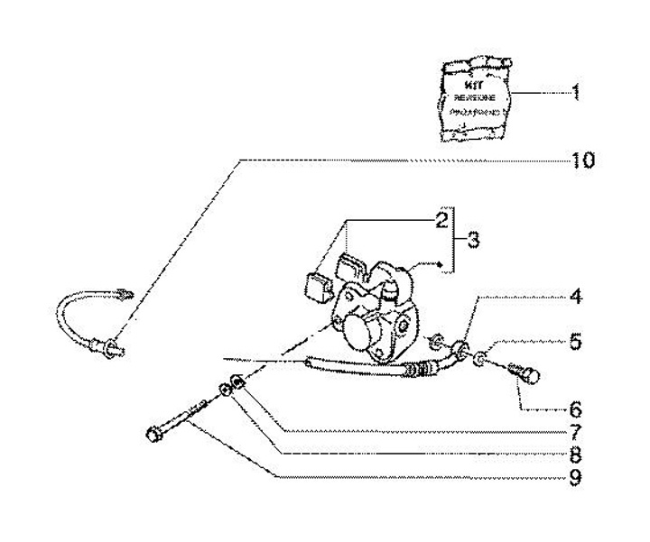
Penjepit Rem Depan - Selang Rem
Gilera Runner 125 (1997-2003, ZAPM07000)
Urutkan