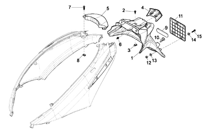
Plat Nomor
Piaggio Fly 50 4V (4-tak, 2013, RP8C52100)
Urutkan