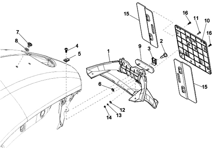
Plat Nomor
Vespa 946 125 (2015, ZAPM80101) Emporio Armani
Urutkan