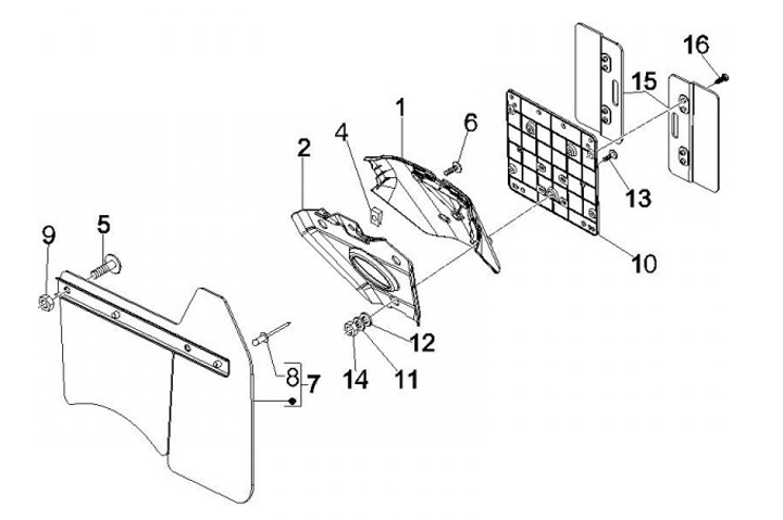
Plat Nomor
Vespa GTS 250 (2007, ZAPM45100)
Urutkan