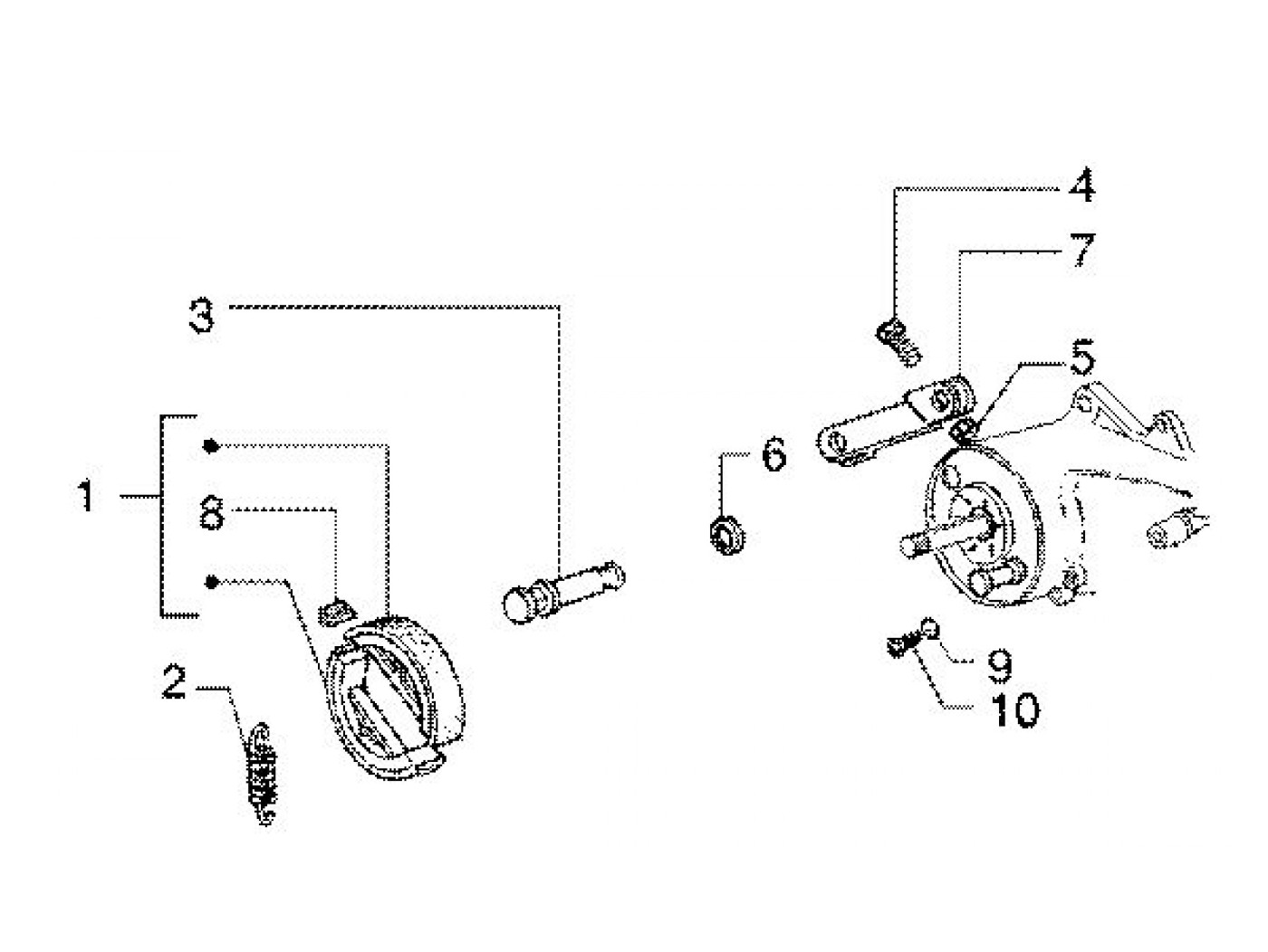
Rem Cakram Belakang
Vespa ET4 50 (2002, ZAPC26100)
Urutkan