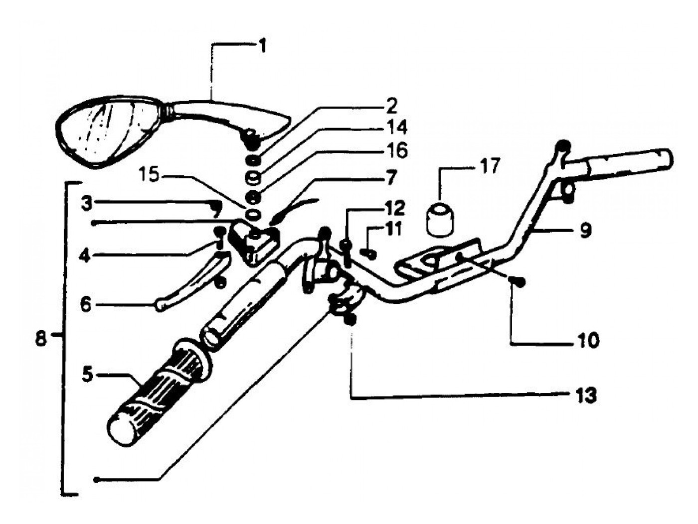
Setang Kiri
Vespa ET2 50 (2002, ZAPC16000)
Urutkan