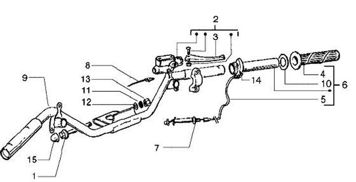
Setang - Silinder Rem Utama Kanan
Piaggio Liberty 50 (2-tak, 1997, ZAPC15000)
Urutkan