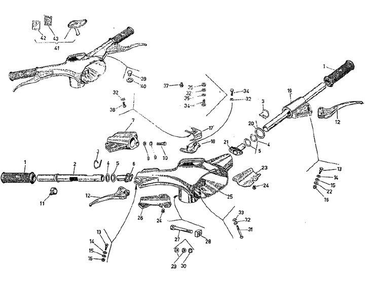
Setang
Motovespa (ES) 160 (mesin 09M)
Urutkan