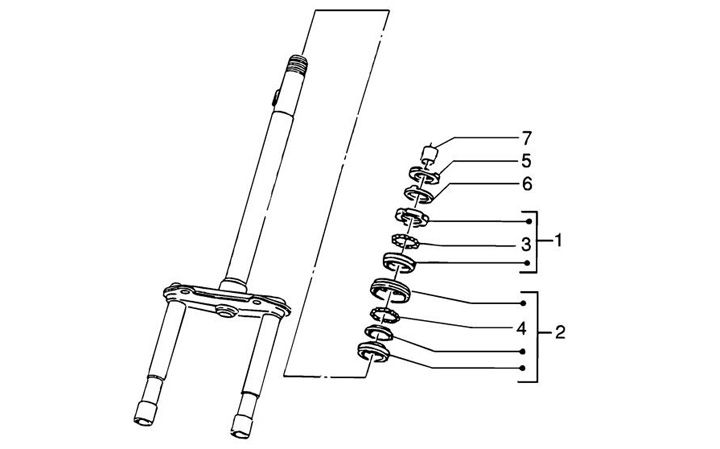
Setir Lager Pengganti
Piaggio NRG 50 MC3 DT (2004, ZAPC2100003)
Urutkan