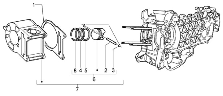
Silinder
Piaggio X9 125 (2001, ZAPM23000) M239M
Urutkan