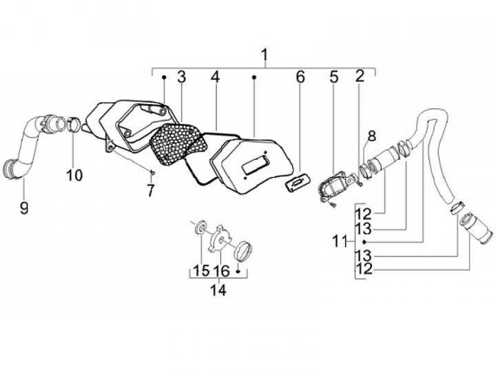
Sistem Pengisian Udara Samping
Gilera Stalker 50 (2008, ZAPC40102)
Urutkan