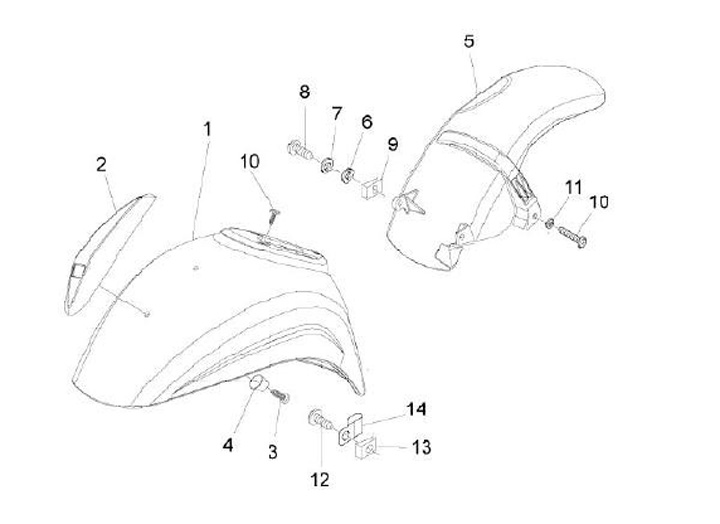
Spakbor
Vespa LX 50 (2-tak, 2009, ZAPC38101)
Urutkan