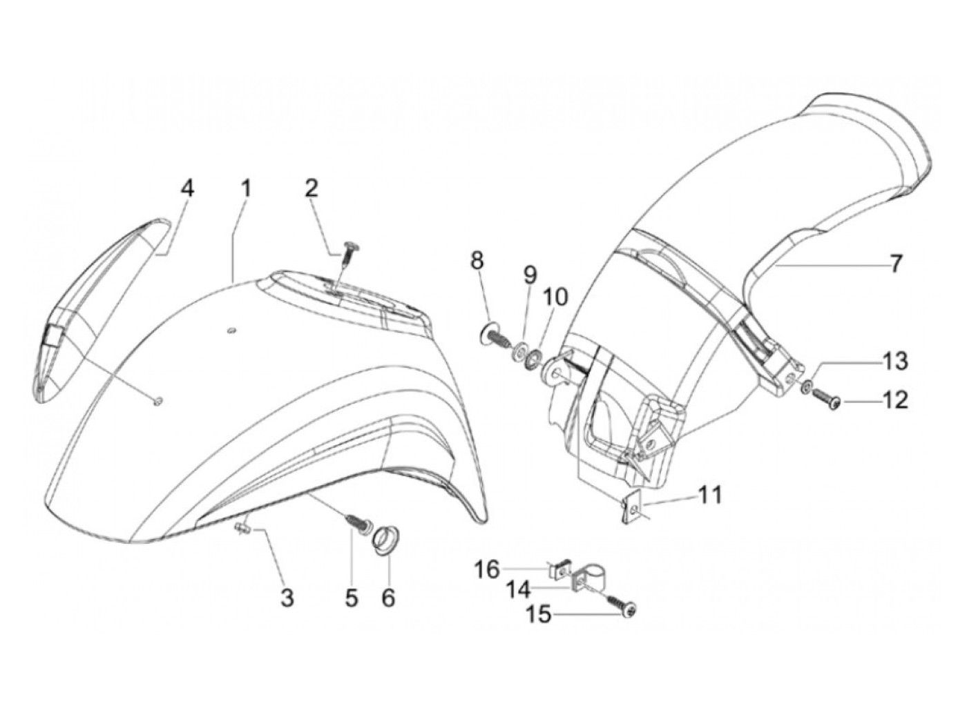
Spakbor
Vespa S 50 College (2-tak, 2010, ZAPC38103)
Urutkan