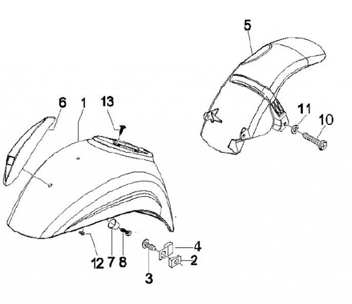
Spakbor
Vespa LX 125 (2009-2011, ZAPM68100)
Urutkan