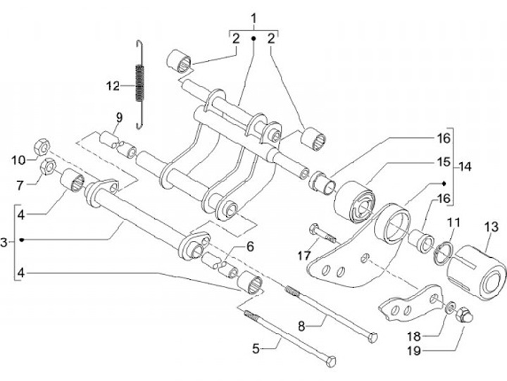
Swingarm
Gilera Runner 125 VX Race (2006, ZAPM46300)
Urutkan