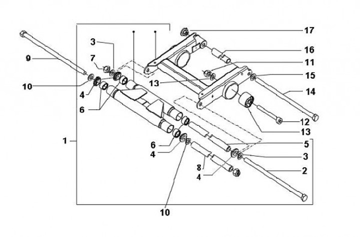
Swingarm
Piaggio Carnaby 250 Cruiser (2009, ZAPM60400)
Urutkan