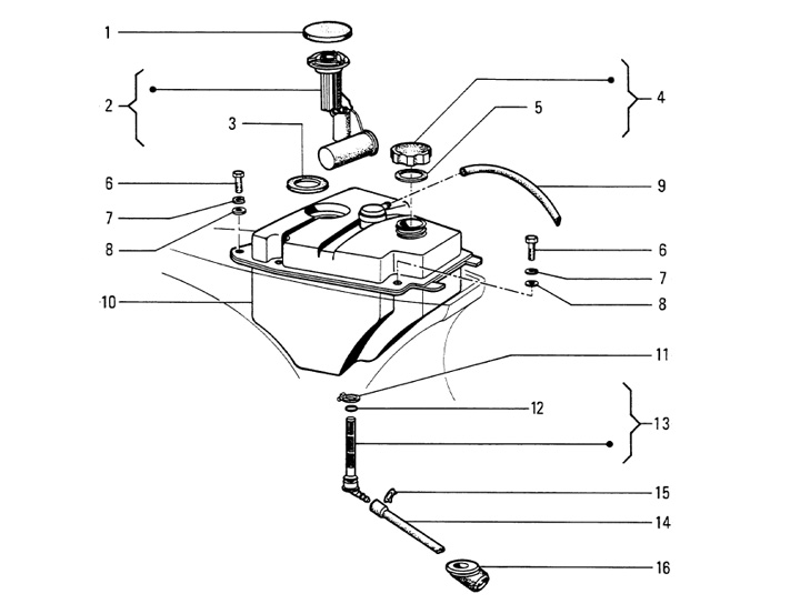
Tangki
Vespa Cosa 125 CL (VNR1T)
Urutkan