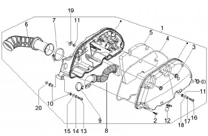
Udara Filter
Piaggio MP3 250 (2006, ZAPM47201)
Urutkan