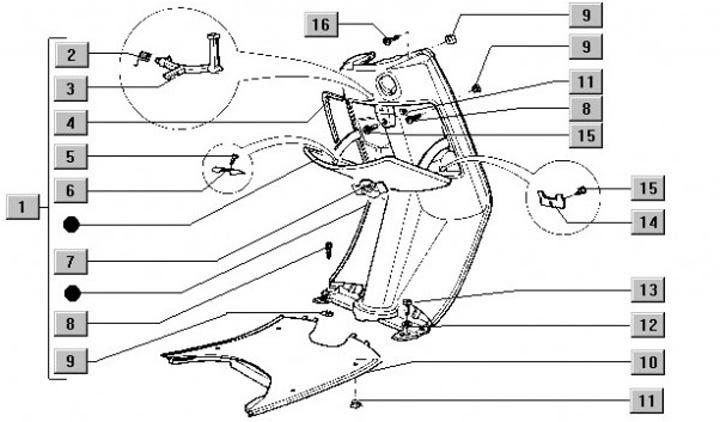
Bauletto anteriore
Piaggio Sfera 50 (1994, NSL1T)
Ordinamento