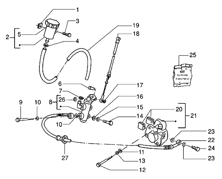
Impianto freno anteriore
Piaggio NRG 50 DD (1999, ZAPC18000)
Ordinamento