molto buono
4.7 / 5
Spedizione oggi con ordine in 6 h 55 min
Spedizione gratuita a partire da 99€ (DE)
Alta soddisfazione del cliente
Contatto
|
Privacy
|
AGB & Info clienti
|
Impronta
Spedizione oggi con ordine in 6 h 55 min
Blog
DE | €
Il mio garage
Dimenticato la password?
accesso
Creare un nuovo account cliente
0
Tutti
Motore
Tutti fuori Motore
Accensione
Albero a gomiti
Avviamento
Cambio
Carburatore
Cilindro
Collettore di aspirazione e diaframma
Filtro dell'aria
Frizione
Guarnizioni
Guida
Motore Carter
Motori
Raffreddamento
Revisionsset
Scarico
Sistema di iniezione
Viti e minuteria
Sistema elettrico
Tutti fuori Sistema elettrico
Accensione e alternatore
Batterie
Candele di accensione
Cavi
Illuminazione
Interruttori
Motore di avviamento
Regolatore, raddrizzatore
Sorgente luminosa
Spina
Strumenti
Viti e minuteria
Telaio e parti aggiuntive
Tutti fuori Telaio e parti aggiuntive
Ammortizzatore
Cavalletto principale e laterale
Cuscinetto della testa dello sterzo
Forchette
Lettering
Parti di rivestimento
Selle
Sistema di alimentazione
Viti e minuteria
Manubri e accessori
Tutti fuori Manubri e accessori
Freno e frizione
Interruttori
Maniglie
Maniglie del cambio a gas
Manubri e parti di carenatura
Specchio
Strumenti
Viti e minuteria
Cavi bowden
Tutti fuori Cavi bowden
Cavi del tachimetro
Elementi di controllo
Nippli di serraggio e viti di regolazione
Tachimetro
Trazioni e set di cavi
Tubi dei freni
Ruote
Tutti fuori Ruote
Cerchi
Freni
Pneumatici
Ruote
Tubi flessibili
Valvole e minuteria
Servizio
Tutti fuori Servizio
Cinghia trapezoidale
Filtri
Oli
Set
Strumento
Olio e chimica
Tutti fuori Olio e chimica
Adesivi
Forniture per il laboratorio
Grassi e lubrificanti
Lacche e colori
Materiali operativi
Oli
Prodotti per la cura e la pulizia
Sigillante
Accessori
Tutti fuori Accessori
Acceleratori e limitatori di giri
Accessori speciali
Attrezzatura per officina
Bauletti
Borse
Manuali & co
Merceologia
Parabrezza
Perimetrali
Portapacchi
Protezione contro i furti
Supporti e accessori per telefoni cellulari
Caschi e abbigliamento
Tutti fuori Caschi e abbigliamento
Accessori
Caschi
Giacche e pantaloni
Guanti
Magliette e camicie
Occhiali e visiere
Buoni
Suggerimento del giorno
Normfest
Detergente per freni -NORMFEST MC1- 500ml
5,02 €*
Vespa classica
Motore
Tutti fuori Motore
Accensione
Albero a gomiti
Avviamento
Cambio
Carburatore
Cilindro
Collettore di aspirazione e diaframma
Filtro dell'aria
Frizione
Guarnizioni
Guida
Motore e alloggiamento
Motori
Raffreddamento
Scarico
Set di revisione
Viti e minuteria
Sistema elettrico
Tutti fuori Sistema elettrico
Accensione e alternatore
Batterie
Candele di accensione
Cavi
Illuminazione
Interruttori
Motore di avviamento
Regolatore, raddrizzatore
Sorgente luminosa
Spina
Strumenti
Viti e minuteria
Telaio
Tutti fuori Telaio
Ammortizzatore
Cavalletto principale e laterale
Cuscinetto della testa dello sterzo
Forchette
Lettering
Panchine
Parti di rivestimento
Sistema di alimentazione
Viti e minuteria
Manubrio
Tutti fuori Manubrio
Freno e frizione
Interruttori
Maniglie
Maniglie del cambio a gas
Manubri e parti di carenatura
Specchio
Strumenti
Viti e minuteria
Cavi bowden
Tutti fuori Cavi bowden
Cavi del tachimetro
Elementi di controllo
Nippli di serraggio e viti di regolazione
Tachimetro
Trazioni e set di cavi
Tubi dei freni
Ruote
Tutti fuori Ruote
Cerchi
Freni
Pneumatici
Ruote
Tubi flessibili
Valvole e minuteria
Servizio
Tutti fuori Servizio
Filtri
Oli
Set
Strumento
Olio e chimica
Tutti fuori Olio e chimica
Adesivi
Forniture per il laboratorio
Grassi e lubrificanti
Lacche e colori
Materiali operativi
Oli
Prodotti per la cura e la pulizia
Sigillante
Accessori
Tutti fuori Accessori
Accessori speciali
Attrezzatura da officina
Barra d'urto
Borse
Letteratura
Merce
Portabagagli
Portacellulari e accessori
Schermi antivento
TopCase
Caschi e abbigliamento
Tutti fuori Caschi e abbigliamento
Accessori
Caschi
Giacche e pantaloni
Guanti
Occhiali e visiere
T-shirt e camicie
Suggerimento del giorno
Top
BGM PRO
Ruota -BGM Pro Superstrong tubeless 2.10-10 pollici in alluminio- Vespa V50, 50N, Special, PV, ET3, PK50-125 (S/XL/XL2), PX, T5, Sprint, Rally, GT/GTR, LML Star, Deluxe, Stella - nero lucido
91,24 €*
Vespa moderna
Motore
Tutti fuori Motore
Accensione
Albero a gomiti
Avviamento
Cambio
Carburatore
Cilindro
Collettore di aspirazione e diaframma
Filtro dell'aria
Frizione
Guarnizioni
Guida
Motore e alloggiamento
Motori
Raffreddamento
Scarico
Set di revisione
Sistema di iniezione
Viti e minuteria
Sistema elettrico
Tutti fuori Sistema elettrico
Accensione e alternatore
Batterie
Candele di accensione
Cavi
Illuminazione
Interruttori
Motore di avviamento
Regolatore, raddrizzatore
Sorgente luminosa
Spina
Strumenti
Viti e minuteria
Telaio e parti aggiuntive
Tutti fuori Telaio e parti aggiuntive
Ammortizzatore
Cavalletto principale e laterale
Cuscinetto della testa dello sterzo
Forchette
Lettering
Panchine
Parti di rivestimento
Sistema di alimentazione
Viti e minuteria
Manubri e accessori
Tutti fuori Manubri e accessori
Freno e frizione
Interruttori
Maniglie
Maniglie del cambio a gas
Manubri e parti di carenatura
Specchio
Strumenti
Viti e minuteria
Cavi bowden
Tutti fuori Cavi bowden
Cavi del tachimetro
Elementi di controllo
Nippli di serraggio e viti di regolazione
Tachimetro
Trazioni e set di cavi
Tubi dei freni
Ruote
Tutti fuori Ruote
Cerchi
Freni
Pneumatici
Ruote
Tubi flessibili
Valvole e minuteria
Servizio
Tutti fuori Servizio
Attrezzi
Cinghia trapezoidale
Filtri
Oli
Pulitore
Set
Olio e chimica
Tutti fuori Olio e chimica
Adesivi
Fluidi operativi
Forniture per il laboratorio
Grassi e lubrificanti
Lacche e colori
Oli
Prodotti per la cura e la pulizia
Sigillante
Accessori
Tutti fuori Accessori
Accessori speciali
Attrezzatura da officina
Barra d'urto
Borse
Letteratura
Merce
Portabagagli
Portacellulari e accessori
Protezione contro i furti
Schermi antivento
TopCase
Caschi e abbigliamento
Tutti fuori Caschi e abbigliamento
Accessori
Caschi
Giacche e pantaloni
Guanti
Occhiali e visiere
T-shirt e camicie
Suggerimento del giorno
VESPTEC
Coperchio -VESPTEC- Vespa GTS 125-310 Keyless, GTV 125-310 Keyless - per adattatore pedana MN1061
35,78 €*
Ciclomotore classico
Motori
Tutti fuori Motori
Accensione
Albero a gomiti
Avviamento
Cambio
Carburatore
Collettore di aspirazione e diaframma
Filtro dell'aria
Frizione
Gruppi termici
Guarnizioni
Guida
Motore e alloggiamento
Raffreddamento
Scarico
Set di revisione
Viti e minuteria
Sistema elettrico
Tutti fuori Sistema elettrico
Accensione e alternatore
Batterie
Candele di accensione
Cavi
illuminazione
Interruttori
Regolatore, raddrizzatore
Sorgente luminosa
Spina
Strumenti
Viti e minuteria
Telaio e parti aggiuntive
Tutti fuori Telaio e parti aggiuntive
Ammortizzatore
Cavalletto principale e laterale
Cuscinetto della testa dello sterzo
Forchette
Lettering
Panchine
Parti di rivestimento
Sistema di alimentazione
Viti e minuteria
Manubri e accessori
Tutti fuori Manubri e accessori
Freno e frizione
Interruttori
Maniglie
Maniglie del cambio a gas
Manubri e parti di carenatura
Specchio
Strumenti
Viti e minuteria
Cavi bowden
Tutti fuori Cavi bowden
Cavi del tachimetro
Elementi di controllo
Nippli di serraggio e viti di regolazione
Tachimetro
Trazioni e set di cavi
Ruote
Tutti fuori Ruote
Cerchi
Freni
Pneumatici
Ruote
Tubi flessibili
Valvole e minuteria
Servizio
Tutti fuori Servizio
Filtri
Oli
Strumento
Olio e chimica
Tutti fuori Olio e chimica
Adesivi
Forniture per il laboratorio
Grassi e lubrificanti
Lacche e colori
Materiali operativi
Oli
Prodotti per la cura e la pulizia
Sigillante
Accessori
Tutti fuori Accessori
Accessori speciali
Attrezzatura da officina
Borse
Letteratura
Merceologia
Portabagagli
Protezione contro i furti
Caschi e abbigliamento
Tutti fuori Caschi e abbigliamento
Accessori
Caschi
Guanti
T-shirt e camicie
Suggerimento del giorno
Tecno
Scarico -TECNO- 'Mopedpott', collettore spesso Ø22mm- Piaggio Ciao, Bravo - Nero (adatto a veicoli con cavalletto centrale)
42,96 €*
Lambretta
Motori
Tutti fuori Motori
Accensione
Albero a gomiti
Cambio
Carburatore
Cilindro
Collettore di aspirazione e diaframma
Filtro dell'aria
Frizione
Guarnizioni
Guida
Kickstarter
Motore e alloggiamento
Raffreddamento
Scarico
Set di revisione
Viti e minuteria
Sistema elettrico
Tutti fuori Sistema elettrico
Accensione e alternatore
Batterie
Cablaggi
Candele di accensione
Illuminazione
Interruttori
Regolatore e raddrizzatore
Sorgente luminosa
Spina
Strumenti
Viti e minuteria
Telaio e parti aggiuntive
Tutti fuori Telaio e parti aggiuntive
Ammortizzatore
Cavalletto principale
Cuscinetto della testa dello sterzo
Forchette
Lettering
Panchine
Parti di rivestimento
Sistema di alimentazione
Viti e minuteria
Manubri e accessori
Tutti fuori Manubri e accessori
Freno e frizione
Interruttori
Maniglie
Maniglie del cambio a gas
Manubri e parti di carenatura
Specchio
Strumenti
Viti e minuteria
Cavi bowden
Tutti fuori Cavi bowden
Cavi del tachimetro
Elementi di controllo
Nippli di serraggio e viti di regolazione
Tachimetro
Trazioni e set di cavi
Tubi dei freni
Ruote
Tutti fuori Ruote
Cerchi
Freni
Pneumatici
Ruote
Tubi flessibili
Valvole e minuteria
Servizio
Tutti fuori Servizio
Oli
Pulitore
Set
Strumento
Olio e chimica
Tutti fuori Olio e chimica
Adesivi
Forniture per il laboratorio
Grassi e lubrificanti
Lacche e colori
Materiali operativi
Oli
Prodotti per la cura e la pulizia
Sigillante
Accessori
Tutti fuori Accessori
Accessori speciali
Attrezzatura da officina
Barra d'urto
Borse
Letteratura
Merce
Portabagagli
Portacellulari e accessori
Protezione contro i furti
Schermi antivento
Caschi e abbigliamento
Tutti fuori Caschi e abbigliamento
Accessori
Caschi
Giacche e pantaloni
Guanti
T-shirt e camicie
Suggerimento del giorno
Selleria Trezzi
Seat SIL (Scooter India Limited) -MADE IN ITALY- Lambretta DL, GP - nero
409,06 €*
Scooter 50-850cc
Motore
Tutti fuori Motore
Accensione
Albero motore
Avviamento
Carburatori
Carter motore
Collettore d'aspirazione e valvola lamellare
Filtro aria
Frizione
Gruppi termici
Guarnizioni
Ingranaggi
Marmitta
Motori
Raffreddamento
Revisionsset
Sistema di iniezione
Trasmissione
Viti e piccole parti
Sistema elettrico
Tutti fuori Sistema elettrico
Accensione e alternatore
avviamento
Batterie
Candele accensione
Cavi elettrici
illuminazione
Interruttori
Lampadine
prese e spine
Regolatore, raddrizzatore
Strumenti di visualizzazione
Viti e piccole parti
Telaio e parti aggiuntive
Tutti fuori Telaio e parti aggiuntive
Ammortizzatore
Cavalletto principale e laterale
Cuscinetto della testa dello sterzo
Forchette
Lettering
Panchine
Parti di rivestimento
Sistema di alimentazione
Viti e minuteria
Manubri e accessori
Tutti fuori Manubri e accessori
Freno e frizione
Interruttori
Maniglie
Maniglie del cambio a gas
Manubri e parti di carenatura
Specchio
Strumenti
Viti e minuteria
Cavi bowden
Tutti fuori Cavi bowden
Cavi del tachimetro
Elementi di controllo
Nippli di serraggio e viti di regolazione
Tachimetro
Trazioni e set di cavi
Tubi dei freni
Ruote
Tutti fuori Ruote
Cerchi
Freni
Pneumatici
Ruote
Tubi flessibili
Valvole e minuteria
Servizio
Tutti fuori Servizio
Cinghie trasmissione
Filtri
Oli
Pulitore
Set
Strumento
Olio e chimica
Tutti fuori Olio e chimica
Adesivi
Fluidi operativi
Forniture per il laboratorio
Grassi e lubrificanti
Lacche e colori
Oli
Prodotti per la cura e la pulizia
Sigillante
Accessori
Tutti fuori Accessori
Acceleratori e limitatori di giri
Accessori speciali
Attrezzatura da officina
Borse
Letteratura
Merce
Perimetrali
Portabagagli
Protezione contro i furti
Schermi antivento
Supporti e accessori per telefoni cellulari
TopCase
Caschi e abbigliamento
Tutti fuori Caschi e abbigliamento
Accessori
Caschi
Giacche e pantaloni
Guanti
Occhiali e visiere
T-shirt e camicie
Suggerimento del giorno
Pro Brake
Set leva freno -PRO BRAKE- regolabile - Royal Alloy GP 125-300, TG 125-300 - nero lucido
101,50 €*
Vespa ET2/ET4 50/125/150
Vespa ET2 50 (2002, ZAPC38100)
Bremsanlage vorn
Motore
Sistema elettrico
Telaio e parti aggiuntive
Manubri e accessori
Cavi bowden
Ruote
Servizio
Olio e chimica
Accessori
Caschi e abbigliamento
Vespa ET2 50 (2002, ZAPC38100)
Viste esplose
Albero motore
Ammortizzatore anteriore
Ammortizzatore posteriore
Avviamento
Batteria
Bauletto anteriore
Carburatore
Carter motore
Cavalletto centrale
comandi
Componenti carburatore (Dell'Orto)
Componenti carburatore (Weber)
Coperchio carter motore
Fanale posteriore
Faro anteriore
Filtro aria
Forcella
Gruppo termico
Impianto freno anteriore
Impianto freno posteriore
Ingranaggi
Interruttore
Kit di ispezione completo
Kit V-Belt Smart
Manubrio dx
Manubrio sx
Marmitta
Motore
Parafango
Pedana
Pompa olio
Portatarga
Puleggia motrice
Puleggia posteriore - frizione
Ruota anteriore
Ruota posteriore
Sella
Serbatoio benzina
Serbatoio olio
Set calotte sterzo e gabbie a sfere
Sistema d'aria secondario
Statore
Strumentazioni
Telaio
Testa cilindro
Vano portacasco
Impianto freno anteriore
Vespa ET2 50 (2002, ZAPC38100)
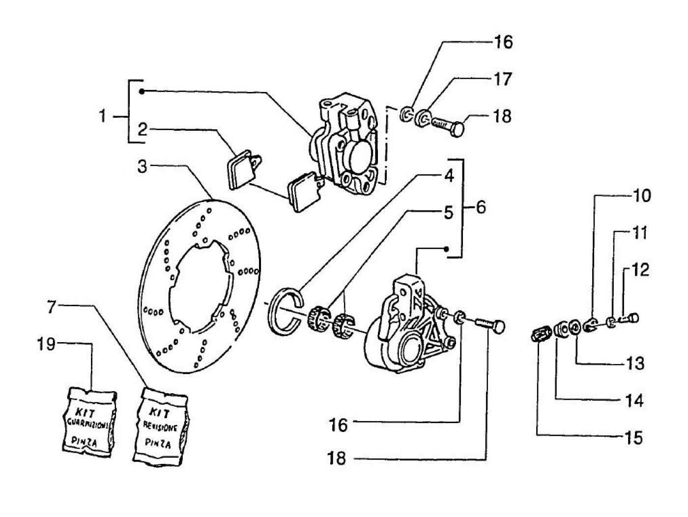
Nome del componente
Piastra di ancoraggio del freno
(1)
Pastiglie dei freni
(1)
Disco freno
(2)
Pinza freno
(1)
Rondella elastica
(1)
Parte in gomma
(1)
Cuscinetto a sfera
(1)
Kit di riparazione
(1)
Vite
(2)
Azionamento del tachimetro
(2)
Rondella piana
(2)
Paraolio
(1)
Produttore
BGM PRO
(1)
INA
(1)
NG
(1)
Normfest
(3)
OEM-Qualität
(2)
Piaggio
(7)
Polini
(1)
VMC
(1)
Ordinamento
Rilevanza
Prezzi in salita
Prezzi in discesa
Marchio A-Z
Marchio Z-A
Novità
Piaggio
GP5602865
Piastra di ancoraggio del freno - supporto pinza freno anteriore -PIAGGIO- Vespa ET2 50 (ZAPC16000, ZAPC12000, ZAPC38100), Vespa ET4 125 (ZAPM19000, ZAPM04000), Vespa ET4 150 (ZAPM19000), Vespa ET4 50 50 (ZAPC26000, ZAPC26100), Vespa LT 125 (RP8M66503), V
VMC
VMC1629
Disco freno -VMC Floating Disc Ø200x97mm 5o- Vespa PX Disc (1998-), Primavera 50-150cc, Sprint 50-150, LX50-150, LXV50-125, S50-150, ET2, ET4, PIAGGIO Fly 125-150, Sfera 50 RST, Zip 50 SP, Sfera 125 4T, Grimeca Classic NT, LML Star
Piaggio
7672248
Pinza freno anteriore -PIAGGIO- Vespa Primavera 125 (RP8M82500, RP8M82821, RP8M82100, RP8M82310), Vespa Primavera 50 (ZAPCA0100, ZAPCA0200, ZAPCA0102, ZAPCA0202, ZAPCD020, ZAPCD010), Vespa Sprint 50 (ZAPCA0101, ZAPCA0201, ZAPCA0103, ZAPCA0203, ZAPCAV6B, Z
NG
NG610
Disco freno -NG Ø200x96,5x4mm- Piaggio Free 50 (1995-2002) anteriore destro, Piaggio Free 50 FL (1995-2002) anteriore sinistro, Piaggio Sfera 75 (1996-1999) anteriore sinistro, Piaggio Vespa ET 4 125 (1996-2002) anteriore sinistro, Piaggio Vespa ET 4 50 (
Piaggio
GP498849
Kit di riparazione - molla e bullone -PIAGGIO- Piaggio TPH
Polini
P1742014
Pastiglie freno -POLINI Sinterizzate 35,6x49mm- Hengtong - Vespa PX (2011-2017) - Vespa PX125/150 (ZAPM741, ZAPM742, 2011-), S50-150 (ZAPC389, ZAPC381, ZAPC386, ZAPM444, ZAPM682, ZAPM44302), ET4 50 (ZAPC260), LX50-125 (ZAPC384, ZAPC381, ZAPC387, ZAPC383,
INA
3331068
Cuscinetto a rullini -HK 2216- (22x28x16mm) - (versione extra larga, utilizzata per la piastra di ancoraggio del freno anteriore Vespa PX (dal 1982), T5 125cc, Cosa, PK S, PK XL, PK XL2)
BGM PRO
BGM269118
Disco copri tachimetro -BGM Originale- Vespa LX, S, GTV, ET4, Piaggio Hexagon, Sfera RST, Quartz, ZIP II, ZIP SP, Hexagon
Piaggio
3820009
Guarnizione albero 46x56x4mm - (utilizzata per il tachimetro Vespa PX (1984-), T5 125cc, Cosa, PK, Gilera Fuoco, Piaggio Hexagon, MP3, Sfera, SKR, Quartz, Zip SP, Vespa ET2, ET4, GT125, GTL, GTS125, GTV, LX, LXV, S)
Piaggio
9000073
Vite senza fine -PIAGGIO- 12 denti, l=29mm 2,7mm quadrato (utilizzato in Vespa LX, LXV, S, GT, GTL, GTS 125-300, ET2, ET4, Piaggio Zip SP, SKR, Quartz, Sfera RST, Hexagon LX, Hexagon LXT, Hexagon GT, GTX)
OEM-Qualität
1564053B
Boccola cavo tachimetro -VESPA- Vespa PX (dal 1998), Grimeca Classic, LX, LXV, S, ET2, ET4, GT, GT L, GTS 125-300, GTS 125-300 i.e. Super, GTV, Piaggio Hexagon GT, GTX, Zip 2, Zip SP
Data di consegna
Piaggio
GP266841
Cavo tachimetro/piastra di ancoraggio freno in gomma -PIAGGIO- Vespa LX
Normfest
3330369
Vite ad esagono cavo -DIN 912- M8 x 25 (resistenza 8,8)
Piaggio
GP709047
Rondella M8x15mm d=1,0mm -PIAGGIO-
Normfest
3332436
Vite -DIN 933- M5 x 16mm (resistenza 8,8) - utilizzata per il montaggio del parafango superiore Vespa Smallframe/Largeframe V50, 50N, PV, ET3, Rally, Sprint, GT, GTR, TS, Lambretta
OEM-Qualität
7900014
Rondella elastica -DIN 127- M5 - Acciaio inox
Normfest
9901082
Rondella -DIN 125- M8
×
×