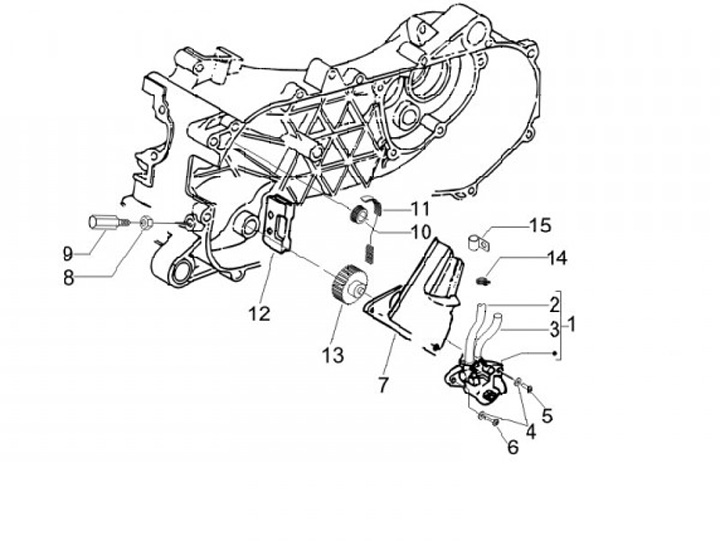
Pompa olio
Piaggio Zip 50 SP2 (2013, ZAPC25000)
Ordinamento