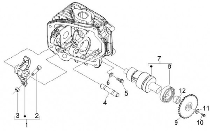
Supporto per braccio oscillante
Vespa S 50 (4-tempi, 2010, ZAPC38901) 25km/h
Ordinamento