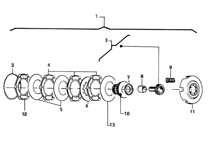
Clutch
Vespa Cosa 150 FL (VLR2T)
Sort