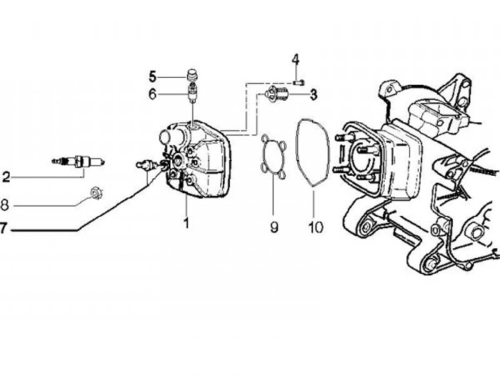
Cylinder head
Gilera Runner 50 RST SP (2005, ZAPC46100)
Sort