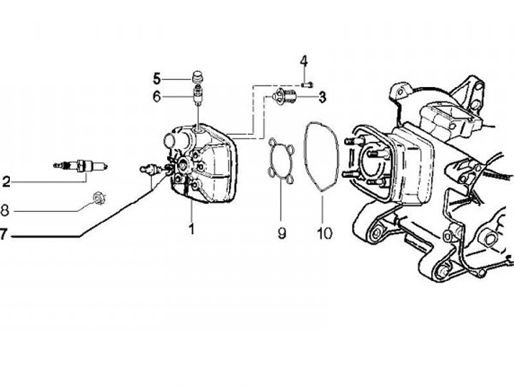
Cylinder head
Gilera Runner 50 RST SP Race (2005, ZAPC46100)
Sort