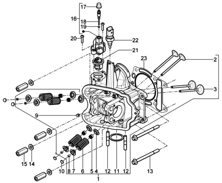
Radiator hose coupling at cylinderhead -PIAGGIO- Vespa GT 250 (ZAPM45102), Vespa GTS 250 (ZAPM45100, ZAPM45101), Vespa GTS 300 (ZAPM45200, ZAPM45202, ZAPMA3300), Vespa GTS Super 125 (ZAPM45300, ZAPM45301), Vespa GTS Super 300 (ZAPM45200, ZAPM45202, ZAPMA3