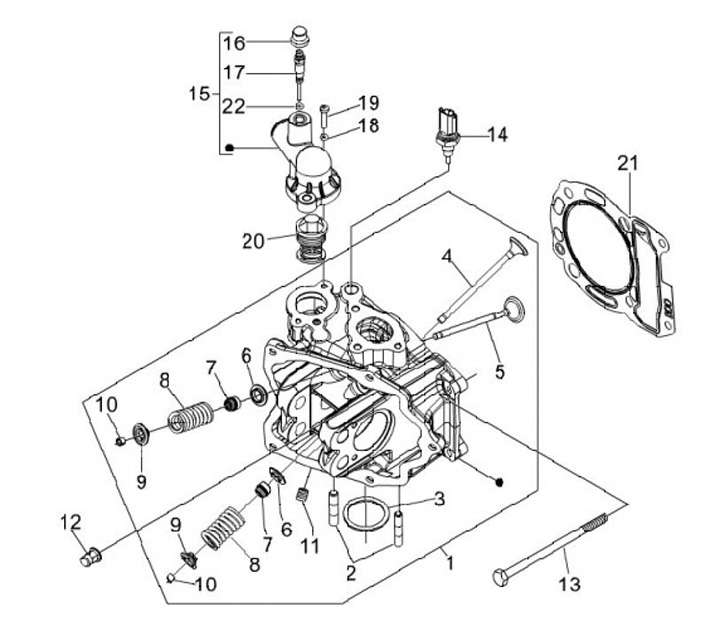
Cylinder head
Piaggio MP3 300 MIC (2011, ZAPM63301)
Sort