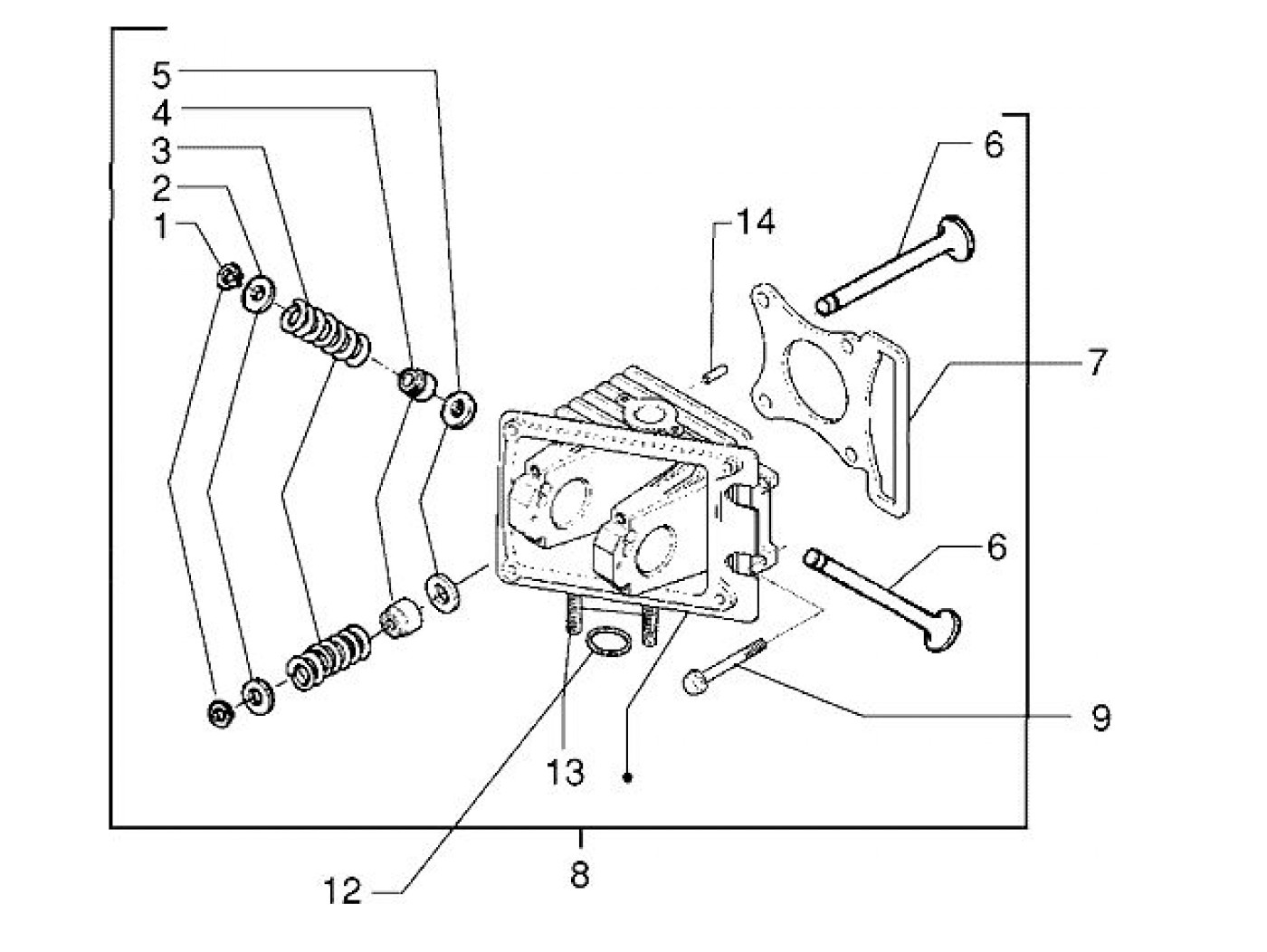
Cylinder head
Vespa ET4 50 (1999, ZAPC26000)
Sort