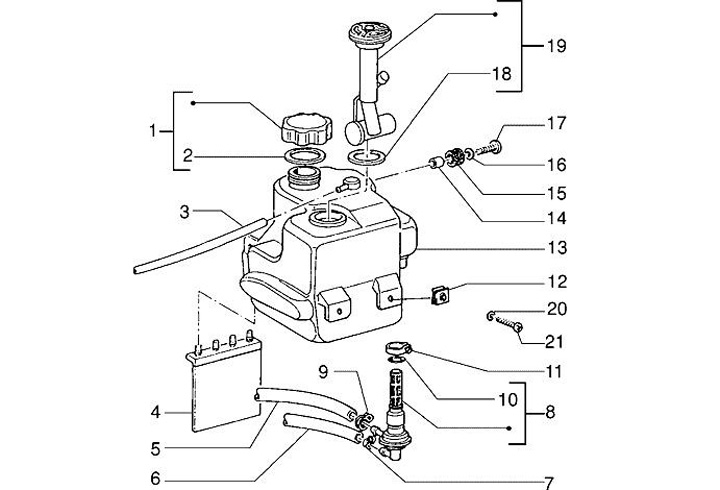
Fuel tank
Piaggio NRG 50 (1996, SAL1T)
Sort