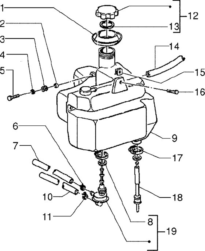
Fuel tank
Piaggio Zip 50 (1995, SSP2T1)
Sort