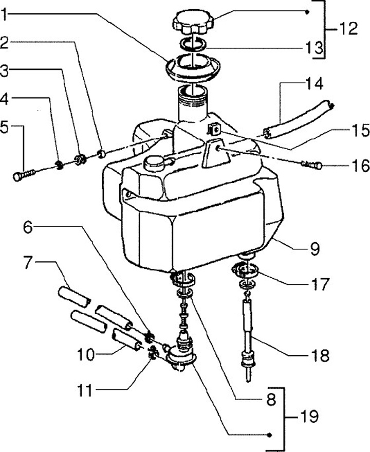
Fuel tank
Piaggio Zip 50 Base (1995, SSP2T2)
Sort