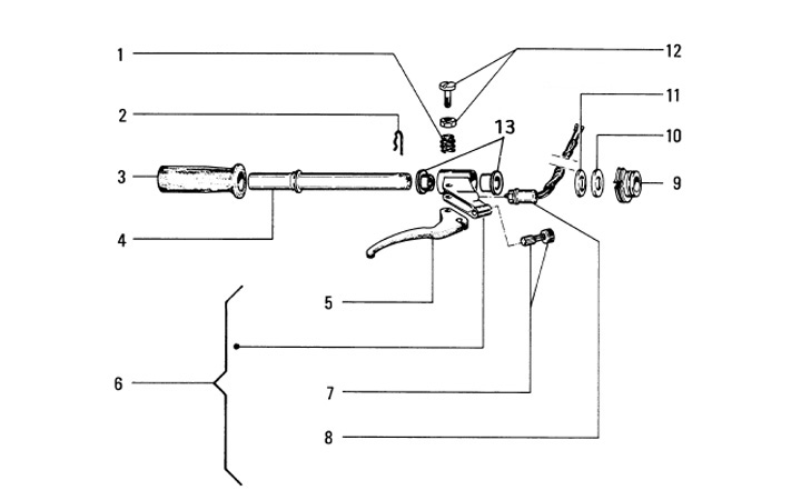
Handle bar III
Vespa Cosa 125 CLX (VNR1T301)
Sort