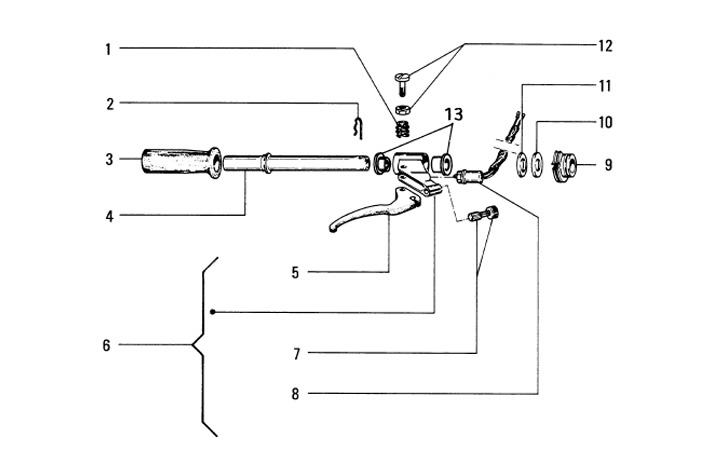
Handle bar III
Vespa Cosa 150 FL (VLR2T)
Sort