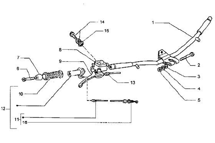
Handlebar - brake master cylinder right
Piaggio Hexagon 180 GTX Super (2000 ZAPM20000)
Sort