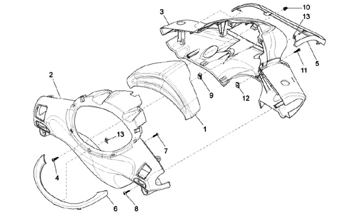
Handlebar top
Piaggio Fly 50 4V (4-stroke, 2013, RP8C52100)
Sort