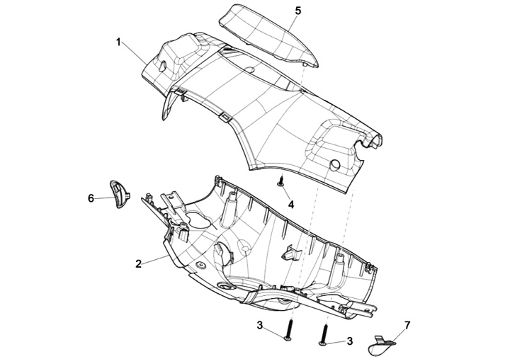
Handlebar top
Vespa Sprint 125 Sport ABS (2014, ZAPM81301)
Sort