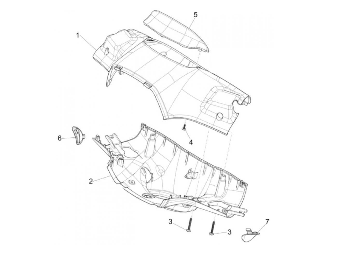
Handlebar top
Vespa Sprint 50 IGET (4-stroke, 2019-2020, ZAPCA0101) Racing Sixti
Sort