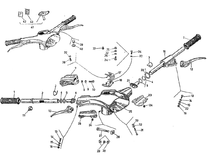
Handlebar
Motovespa (ES) 125 S (Engine V60MS)
Sort