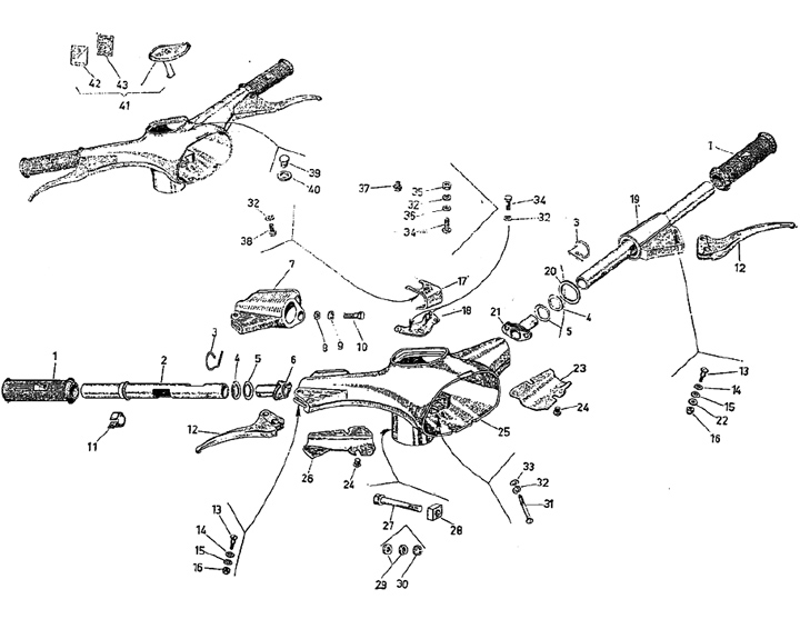
Handlebar
Motovespa (ES) 125 L (M62)
Sort