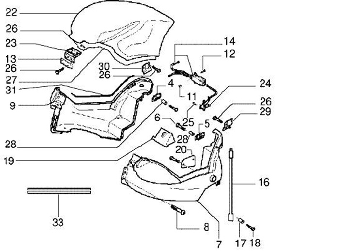
Helmet box
Gilera DNA 50 (2001, ZAPC27000)
Sort