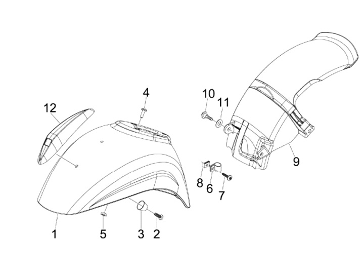
Mudguard
Vespa S 150 (2009, ZAPM44402)
Sort