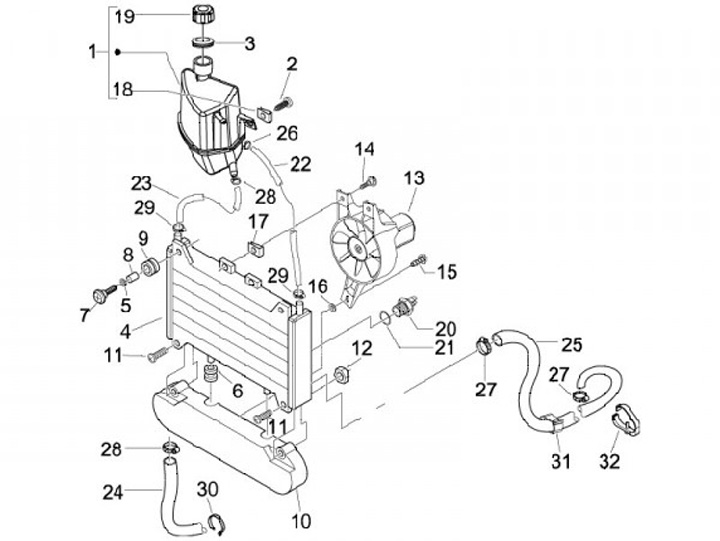
Radiator - ventilator
Piaggio Beverly 125 MIC (2007, ZAPM28900)
Sort