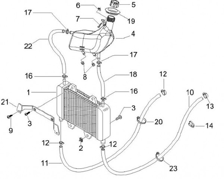
Radiator
Gilera Runner 50 RST SP (2008, ZAPC46100)
Sort