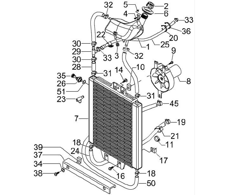
Rubber for tank filler neck -PIAGGIO- Vespa GT 250 (ZAPM45102), Vespa GT L 125 (ZAPM31101), Vespa GTS 125 (ZAPM31300, ZAPMA3100), Vespa GTS 150 (ZAPMA3100, ZAPMA3200), Vespa GTS 250 (ZAPM45100, ZAPM45101), Vespa GTS 300 (ZAPM45200, ZAPM45202, ZAPMA3300),